鸡病专业网论坛

 找回密码
 立即注册

QQ登录

只需一步,快速开始

查看: 5748|回复: 0
收起左侧

[分享] 总投资超5亿元!重庆打通镇与上海源信达500万羽蛋鸡产业链项目签约

[复制链接]

鸡病专业网编辑

Rank: 46Rank: 46Rank: 46Rank: 46Rank: 46Rank: 46Rank: 46Rank: 46Rank: 46Rank: 46Rank: 46Rank: 46

发表于 2025-12-10 11:10:13 | 显示全部楼层 |阅读模式 来自: 中国河南

马上注册,结交更多好友,享用更多功能,让你轻松玩转社区。

您需要 登录 才可以下载或查看,没有账号?立即注册

x

----广告,是另一种资讯----

12月5日,打通镇与上海源信达生态科技有限公司举行500万羽蛋鸡产业链项目(一期)战略合作签约仪式,政企携手按下农业产业化发展“加速键”,为全镇乡村振兴注入强劲动能。

镇党委书记金奇彬、镇长雷文婧、镇领导班子成员、上海源信达生态科技有限公司副总刘传裕、西南片区经理黄伟、农委招商引资办罗德林出席签约仪式。

qw3.jpg
图源:微打通微信公众号

作为打通镇重点招商引资项目,此次签约的500万羽蛋鸡产业链项目(一期)总投资超5亿元,规划占地面积200余亩。

项目深度锚定蛋鸡规模化养殖产业发展核心需求,既充分依托打通镇生态环境优良、水源洁净充足的天然禀赋,又精准对接农业基础深厚、劳动力资源富集的产业优势,为项目高质量落地筑牢坚实根基。

项目将重点建设标准化智能鸡舍,配套引进自动喂料、智能温控、精准通风、自动集蛋等现代化设备,构建养殖全流程数字化管控体系,预计建成后年存栏蛋鸡100万羽,年产值可达1.4亿元。

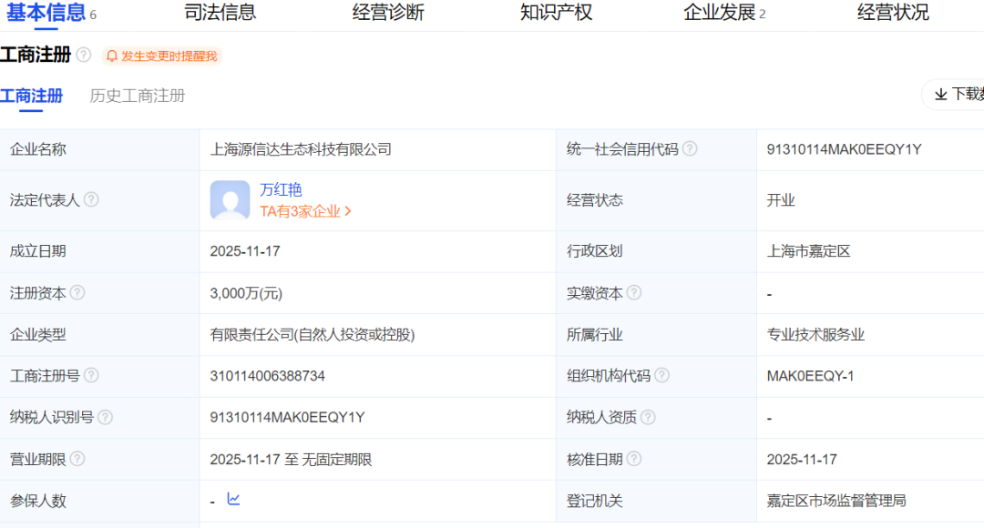
关于上海源信达生态科技有限公司

上海源信达生态科技有限公司成立于2025年11月17日,注册资本3000万元,法定代表人为万红艳。

qw4.jpg

经营范围包括一般项目:技术服务、技术开发、技术咨询、技术交流、技术转让、技术推广;人工造林;树木种植经营;木材销售;纸浆销售;纸制品销售;软木制品销售;日用木制品销售;竹制品销售;新鲜水果批发;新鲜蔬菜批发;林业产品销售;食用农产品批发;水产品批发;畜牧渔业饲料销售;肥料销售;生物质燃料销售(不含危险化学品);城市绿化管理;森林改培;森林经营和管护;旅游开发项目策划咨询;电子产品销售;货物进出口;进出口代理;健康咨询服务(不含诊疗服务);信息咨询服务(不含许可类信息咨询服务);生态资源监测;土壤污染治理与修复服务;节能管理服务;高效节能技术装备销售;五金产品批发;化工产品销售(不含许可类化工产品);非金属矿及制品销售;煤炭及制品销售;市场营销策划;组织文化艺术交流活动。

来源:微打通、爱企查综合


回复

使用道具 举报

您需要登录后才可以回帖 登录 | 立即注册

本版积分规则

手机版|Archiver|鸡病专业网 ( 豫ICP备11024133号-2 )

GMT+8, 2026-5-19 07:26 , Processed in 0.148803 second(s), 31 queries .

快速回复 返回顶部 返回列表