鸡病专业网论坛

 找回密码
 立即注册

QQ登录

只需一步,快速开始

查看: 1771|回复: 0
收起左侧

【分享】防止产蛋鸡惊群的设计装置

[复制链接]

鸡病专业网编辑

Rank: 46Rank: 46Rank: 46Rank: 46Rank: 46Rank: 46Rank: 46Rank: 46Rank: 46Rank: 46Rank: 46Rank: 46

发表于 2025-11-27 11:56:03 | 显示全部楼层 |阅读模式 来自: 中国河南

马上注册,结交更多好友,享用更多功能,让你轻松玩转社区。

您需要 登录 才可以下载或查看,没有账号?立即注册

x
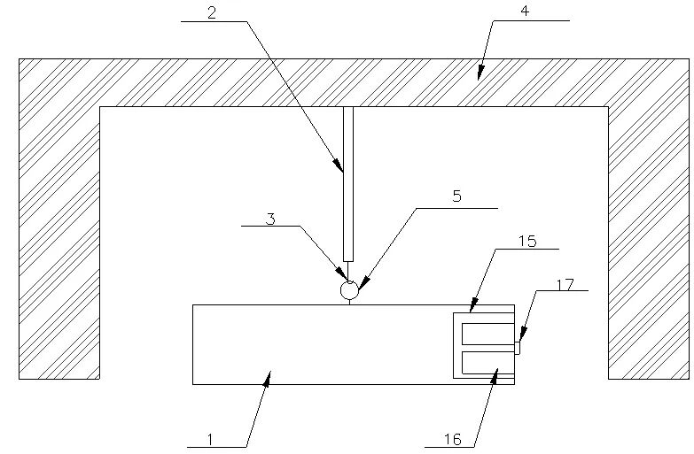
为减少产蛋鸡惊群造成的不利影响,设计了一种防止产蛋鸡惊群的装置,包括悬挂机构和播放主机。悬挂机构包括悬挂绳、挂钩和连接座,其中,连接座与装置主体固定连接,悬挂绳一端与连接座连接,另一端与挂钩连接。播放主机上端部安装吊环,吊环与挂钩相适配,播放主机底部安装声音传感器,声音传感器为麦克风阵列,麦克风阵列包括多个均匀分布的麦克风,该装置设计新型、结构新颖,可及时应对产蛋鸡惊群现象,减少因惊群导致的产蛋率下降、不合格蛋增多及鸡只死亡等现象,且结构简单,实用性强。

一、技术背景

蛋鸡进入产蛋期后对环境非常敏感,当有陌生人进入鸡舍等情况发生时,极易引起鸡群躁动不安,发出惊恐的鸣叫声,并在笼内上蹿下跳,企图冲出鸡笼,即出现惊群现象。产蛋鸡惊群轻则导致产蛋率下降,破蛋、沙皮蛋、软壳蛋等蛋增多,重则引起鸡群惊恐过度,心力衰竭而死,给养殖者带来较大的经济损失。

二、设计方案


为此,亟需设计一种防止产蛋鸡惊群的装置,以解决上述技术背景中提出的问题。为实现上述目的,提供如下设计方案:依据鸡舍结构特征和鸡群生产情况,设计一种防止产蛋鸡惊群的装置,主要包括悬挂机构和播放主机。

1、悬挂机构

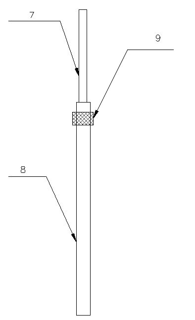
悬挂机构包括悬挂绳、挂钩和连接座,其中,连接座与装置主体固定连接。悬挂绳一端与连接座连接,另一端与挂钩连接。悬挂绳为可伸缩结构,包括内绳和外绳,所述内绳一端与连接座连接,另一端套设于外绳内,所述外绳上设有用于固定内绳伸缩长度的锁紧件。

2、播放主机

播放主机上端安装吊环,吊环与挂钩相适配;内部安装控制电路板和电池仓,控制电路板上安装单片机、存储模块、播放模块和传感信号采集模块,传感信号采集模块输入端连接声音传感器,输出端连接单片机,存储模块、播放模块分别连接单片机(型号为STM32F103C8T6),播放模块连接播放喇叭,电池仓内安装蓄电池组。底部安装声音传感器,声音传感器为麦克风阵列,麦克风阵列包括多个均匀分布的麦克风;底端面安装播放喇叭;外壁安装充电接口。

三、工作原理

将设计装置通过悬挂机构悬挂于鸡舍上方合适高度。当产蛋鸡发生惊群时,会发出惊恐的鸣叫声,麦克风阵列会采集到该声音信号,并将其转换为电信号传输至单片机;单片机接收到感应信号后,控制播放喇叭播放存储在存储模块内的布谷鸟叫声。随着布谷鸟叫声的播放,鸡群会逐渐安静下来,当麦克风阵列不再感应到惊恐鸣叫声时,单片机会控制播放模块停止播放。

综上所述,本设计装置结构新颖,可及时应对产蛋鸡惊群现象,减少因惊群导致的产蛋率下降、不合格蛋增多及鸡只死亡等现象,且结构简单,实用性强。

四、附图说明

设计装置的结构示意图、仰视图、原理图如下。

qw3.jpg

设计装置总体结构示意图

qw4.jpg

悬挂绳结构示意图

qw5.jpg

播放主机仰视图

qw6.jpg

设计装置控制原理图

注:图中1播放主机、2悬挂绳、3挂钩、4连接座、5吊环、6声音传感器、7内绳、8外绳、9锁紧件、10播放喇叭、11单片机、12存储模块、13播放模块、14传感信号采集模块、15电池仓、16蓄电池组、17充电接口。

来源:中国禽业导刊,作者单位:江苏省丹阳市珥陵镇动物防疫站



回复

使用道具 举报

您需要登录后才可以回帖 登录 | 立即注册

本版积分规则

手机版|Archiver|鸡病专业网 ( 豫ICP备11024133号-2 )

GMT+8, 2025-12-18 23:36 , Processed in 0.150333 second(s), 30 queries .

快速回复 返回顶部 返回列表